B站作为Z世代的聚居地,以二次元内容产品吸引年轻人。未来,B站的形式仍然严峻。如果B站要有新发展,需要做出一些产品上的改变。
哔哩哔哩广告,英文名Bilibili,或另一个更常用的简称——B站,这是大家熟知的一个视频网站。
在十年前的2009年,中国已经有优酷、土豆、酷六网等多家视频网站,B站非常精准地瞄准了国内正在兴起的二次元文化,为二次元群体提供了一个以视频为载体的交流平台。
经过10年的发展,B站现在已经发展为国内最大的二次元社区,但他又不仅仅局限于此,很多人都说B站将会成为中国的youtube。
等等,为什么是B站,而不是优酷、爱奇艺和腾讯视频?后三者明显月活要大很多。
Youtube其实是以UGC(用户自制内容)为主的视频网站,而优爱腾三家网站虽然大,但其主要内容是PGC内容,比如电视剧、电影和综艺等,其实这三家更像是Netflix。
国内目前以UGC视频内容为主的大视频网站只有B站、西瓜视频、抖音和快手了,但后三者是以短视频为主。所以目前中国国内像Youtube的网站只剩B站一家了。
在B站对自己的简介中是这样给自己定位的:中国年轻人聚集的文化社区。
B站不仅要做到像Youtube一样的视频网站,更要做一个给年轻人交流兴趣的社区平台。近几年从B站新增分区、开设频道、增加非二次元内容占比等一系列动作来看,B站正在向这个方向发展。
本文将从产品、市场、用户、功能四个方面对B站APP进行分析,并给出一些优化建议。
本文将从以下几个方面进行分析:
产品功能结构
市场分析
用户分析
用户调研
功能分析
总结
使用环境:
操作系统:iOS 13.1
软件版本:5.48.2
体验设备:iPhone Xs
体验时间:2019年10月
一、产品功能结构图&用户使用路径
1.1 产品功能结构图
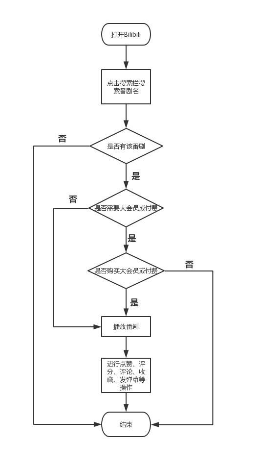
1.2 用户使用路径图
场景一:用户上B站看关注UP主的动态
场景二:用户想看一部新番剧

哔哩哔哩广告,哔哩哔哩广告开户,哔哩哔哩推广:15502933391
文章均来自互联网如有不妥请联系作者删除QQ:314111741 地址:http://www.mqs.net/post/52500.html
添加新评论