小编之前给大家分享了公众号运营的账号定位、内容规划、内容创作、内容排版,我们可以清晰的知道通过账号及内容规划我们可以有效的锁定我们用户人群,通过内容创作及内容排版我们可以增加用户的点击量、阅读量、转发量。
那么,问题来了,公众号的后台数据都代表了什么?公众号的点击率是指文章的阅读量除以粉丝总量吗?公众号文章受众主要城市是哪个?用户最活跃的时间段是哪些?增加阅读量先提升点击率还是先打磨文章?如何利用公众号的数据优化运营方向呢?
在小编理解来看,数据是新媒体运营的基础,就像一条绳索贯穿整个运营过程,它既是运营考核价值的最终呈现结果,也是支撑运营方向的导向图。所以对于这样一个流程化的运营工作,要实时的结合后台运营数据不断的调整和验证,这样才能提高数据分析的精准度。
今天主要从以下两点来给大家分享:
一、数据运营的三大原则
准确性:无论分项数据的换算,还是单个数据的采集,都要将数据的结果呈现在可视化图表中,且保证最终数据的准确性,以免数据丢失影响运营人员的判断。
有效性:数据分析是为了帮助运营人员实时调整内容及投放方向,在庞大的数据内容中要及时摒弃意义不大或者内容重合度过高的数据,因为这样的数据只会增加运营人员的工作量。
美观性:利用可视化图表将数据分门别类,保证分项数据的美观性,除了让运营人员及时有效的观察分析外,也方便团队及领导直观了解公众号的整体运营情况。
二、数据运营的四大模块
目前在微信公众号后台的数据模块包含内容分析、用户分析、菜单分析、消息分析、接口分析及网页分析等数据模块,目前接口及网页涉及到二次开发的数据分析,需要具备强有力的技术团队开发,所以这里就不做分享了。我们先了解其他四大主流模块。
1. 用户分析
主要包含用户增长、用户属性两大版块,通过他们可以查看截止到前一日的粉丝人数变化,粉丝性别、年龄语言特征,省级、地级人员分布占比,用户终端访问设备占比等情况,具体我们来看下:
1)用户增长
用户增长主要包含新增粉丝数、取关粉丝数、净增粉丝数、累计关注数。
新增关注人数和取消关注人数代表昨日新关注和取消关注的用户数,其中不包含当天重复关注取关的用户。
净增粉丝数代表昨日新增粉丝数与取关粉丝数之差;累计关注数则代表了截止到昨天的粉丝总数。
如果说一定要找一个评判公众号整体质量的数据,那就非“新用户关注人数”莫属了,通过昨日对比数据,如果我们看到新关注数据有明显的增长,那就说明上一篇文章的内容是用户喜欢的,或者说内容分发是有效果的。我们可以针对同类型的文章或者相关内容的文章进行分发宣传了。内容质量度高,受众用户精准自然公众号的整体质量会高。
目前公众号获取粉丝的方式一般有以下几种路径:搜一搜、扫描二维码、文章内账号名称、名片分享、支付后关注、他人转载、微信朋友圈广告、其他合计。
以上数据很重要吗?当然很重要,我们俗话说“知己知彼”,在公众号的运营过程中,我们首先要了解获取客户的路径,然后合理的利用这些路径,并且针对性的对所有路径进行包装设计,不断通过内容、活动、运营等方式增加账号的曝光量。这样不但可以节省人力物力成本,还能再有效的路径上设置增长机制,实现用户增长。
① 微信搜一搜
我们可以试想一下,什么样的用户会通过“搜一搜”来关注我们的账号呢?是的,品牌价值!如果说您的账号超过40%的关注量来自微信搜一搜,那么您的公众号要么品牌宣传做的比较到位,要么定位相对垂直,已经具备一定的知名度。
想要提高公众号搜一搜的关注量有两个办法,其一是给自己定位一个自带流量的关键词(如何定位可以参考小编前几期的分享),其二是增加日常的品牌的推广力度、关键词植入力度。另外,如果您的公众号名字搜索排名靠后,可以通过企业号认证、商标注册、粉丝的互动率等方式来提升排名。
② 扫描二维码
扫描二维码关注应该是最常见的方式了,线上通过网站、推文、宣传海报、朋友圈转发、活动报名、微信视频广告等方式进行关注;线下则通过宣传单、易拉宝、扫码礼品,最有特色的莫过于公安系统的,关注二维码和特警哥哥拍照。扫码关注的方法虽老,但是创新的方式却有很多种。
不论是线上扫码还是线下扫码,其关注结果都反馈了我们在不同渠道的运营效果。那如何区分不同渠道来源的效果好坏呢?微信公众号还提供了带参数的二维码接口,以满足用户进行渠道推广分析的需要,通过该接口可以获取多个供不同场景使用的二维码,通过不同场景的二维码获取不同渠道的数据,便可以针对性进行收集、分析、整改。
③ 文章内公众号名称
众所周知,文章的选题、标题、文章质量、内容排版都是影响公众号粉丝关注的重要因素。在公众号的内容创作中,一般我们会在标题下方贴近公众号名称的地方添加引导关注的字眼。文章阅读转关注是评判文章内容好坏最重要的依据之一,其证明内容满足用户需求,简单来说上一篇文章的内容是用户喜欢的,所以,近期我们可以针对同类型的文章进行分发,相信会有不错的效果。
④ 名片分享
名片分享一般都是读者主动推荐给朋友或者群聊中进行口碑传播的,如果这个路径给我们的公众号带来了不错的新增粉丝用户,那么同样说明我们的公众号的定位及内容质量是不错的。
⑤ 支付后关注
支付功能开通的前提是认证的企业号,且开通了微信支付功能。这里一般对行业会有要求,比如说本地生活服务类、餐饮类、商超类等涉及到线上交易的客户,而且一般会通过小程序进行联动,用户支付后都会关注该公众号的。
⑥ 其他合计
以上就是我们常见的几种关注方式了,其他的关注方式比如说朋友圈广告、广点通、摇一摇领卡券等相对占比比较小,权重也比较低,这里就不一一分享了。
2)用户属性分析
根据行业特性的不同,公众号文章的男女比例、年龄分布、语言分布是不同的。例如美甲类的受众女性>男性,年龄分布基本在18-35岁,语言是简体中文;但对于科教类的账号,受众则不尽相同,我们来看下图:
通过截图我们可以看到,男女比例基本保持1:1,18到35岁涵盖70%以上的用户,因为账号的内容涉及海内外的产品及业务,所以英文用户还是有些许的占比的。
所以,不同的行业需要有不同的策略,如果性别、年龄、语言等人口特征出现了大比例的失衡,一定要及时针对账号进行调整,所涉及到的账号定位、选题策划、内容创作可以参考小编前几期的分享。
另外是地域归属这块,参考价值非常之大,不但可以清楚了解企业账号在各城市的业务能力,还可以就此项数据作出关键性决策,例如做餐饮招商的客户,做线下的落地推广自然优选粉丝基础比较好的城市。这里需要注意的是,如果我们做的是本地化服务,外地粉丝>本地粉丝,那我们就需要急需一些线上线下的吸粉活动获取大量的本地粉丝了,保证本地粉丝有一个良好的生存环境。
最后就是终端分析了,我们可以看一组截图:

通过数据我们可以看到,目前安卓机和苹果机基本处于分庭抗衡的状态,当然安卓机的市场占比最大,而WP7用户还在垂死挣扎中。机型方面,苹果机目前基本保持在iPhone7以上,11、12为主流,安卓机目前小米、华为、vivo、oppo用户量最大。这里想说的是,公众号针对终端分析的可参考性并不大,大家可以通过第三方工具进行分析,不同的机型代表了不同消费水平,同样不同的机型内容显示效果也不尽相同。
2. 图文分析
在公众号的后台,图文分析数据相对来说还是比较全面的,有对全部图文的关键数据进行分析,也有对单篇文章的关键数据分析,数据周期也包含了小时、日、周、月。我们来看关键数据指标:

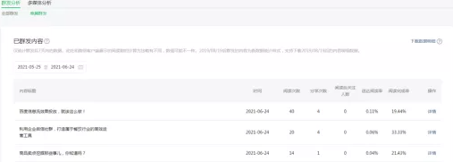
送达阅读率=文章阅读次数/文章群发送达的人数
送达阅读率俗称打开率,它直接影响文章的阅读数,是公众号数据运营中最重要的数据之一。而影响打开率的重要因素则是文章的标题,标题好不好,能否吸引用户引起用户的共鸣,就直接决定了打开率的高低。另外,文章选题、封面图、内容摘要、发送时间等相对可控的因素也会影响送达阅读率。
不同于早期的一个公户只关注几个公众号,随着公众号用户越来越多,用户获取同类信息的渠道越来越多。现如今每个人手机里关注的公众号数量数十上百,在文章堆积文章、文章覆盖文章,最终导致的结果就是文章的送达阅读率持续降低。想要提高送达阅读率,就需要相应的运营手段来改善。
同样我们还可以通过公众号的功能间接提升送达阅读率。比如公众号“星标”,用户可以自主选择感兴趣的公众号,设置星标后公众号将出现在订阅号界面的置顶位置。对于企业号来说吗,抢占用户信息的置顶位就是在抢占用户的注意力。
阅读完成率=文章完成阅读人数/文章阅读总人数。
如果说送达阅读率代表标题的好坏,那么阅读完成率则代表内容质量的高低。想要提高阅读完成率,标题、导语、开头、内容、结尾方方面面都要布局好,标题不做“标题党”,做真正能承诺客户利益的标题内容,导语提纲挈领点出精彩事实,开头锁定住读者注意力,激发阅读兴趣,结尾戳重读者,让内容升华,引发共鸣,才能获得最够高的阅读完成率。
分享次数:粉丝、非粉转发至好友会话、群聊、朋友圈、朋友再看的次数。
阅读后关注人数=完成文章阅读后,通过点击公众号名称进入主页关注的人数。
微信公众号的推荐机制不同于其他平台,及时粉丝基数很低也可以打造阅读10W+的爆款。阅读量的贡献除了现有的粉丝阅读外,只能依靠文章的传播进行渗透,比如说好友推荐、微信群推荐、朋友圈推荐等。当然在微信看一看上线后,也未公众号的阅读推荐提供了更多的来源。
围绕渠道构成,除了公众号会话,用户传播是主要的影响因素,而文章选题、内容质量、标题则决定了用户是否愿意传播,所以文章的分享次数较低要,阅读后关注人数较低就要从选题及内容上找问题了。
以上重要我们列举了几项比较重要的图文数据,至于收藏人数、原文阅读数等数据维度比较单一,相对来说并不负责,所以就不做详细介绍了,有问题大家可以私聊小编。
3. 菜单分析
首先我们来看下菜单分析的核心数据指标
菜单点击数:一级菜单和子菜单被用户点击的次数
菜单点击人数:一级菜单和子菜单的去重点击用户数
人均点击次数:点击数/点击人数
公众号提供内容服务的关键入口是菜单栏,一级菜单囊括子菜单,合理的将子菜单内容进行分类,通过一级菜单和子菜单的点击率,可以了解用户关心什么,在乎什么,并对分类及内容作出相应的调整和规划。
菜单栏的设置可以将子菜单内容进行同级分类,以便于我们详细了解哪一个品类是用户最喜欢的。通过分类内容来调查用户最兴趣的是什么,从而针对内容运营进行更好的调整,生产符合用户心理需求的内容。除此之外,一级菜单栏名称要与子菜单名称匹配,这样才能更好的发挥作用。
4. 消息分析
消息分析可查看粉丝在公众号回复消息情况。消息发送人数是指发送消息的粉丝数,消息发送次数是指粉丝发送消息的次数,而人均发送次数是消息发送次数/人均发送次数,日、月、周分别计算昨日对比1、7、30天前的变化情况。
消息关键词分析包含关键词、自定义关键词、非自定义关键词。其中关键词代表用户发送文字中所包含的特殊名词;自定义关键词代表公众号在编辑模式中预先设置的关键词;非自定义关键词则代表用户发送消息中,非公众号在编辑模式中预先设置的关键词。
消息关键词可分别分别查询7、14、30天以及自定义时间段里,top200的关键词是什么。关键词回复可以帮助运营这分析用户与账号间的互动频率,文章的回复率,最文章的好坏分析非常大。另外,通过关键词分析运营者可以找到用户的问题以及最感兴趣的话,汇总问题,通过异议解答提高运营者的工作效率,通过内容调整提供符合用户喜好的文章。
上面主要分享的是公众号后台数据的解读,因为每个公众号的特性不一样,所涉及到的关键数据也会不尽相同,所以运营者可以根据需求进行调整。
文章均来自互联网如有不妥请联系作者删除QQ:314111741 地址:http://www.mqs.net/post/53795.html
添加新评论